Демонстрационный сайт » Интерьер » Буржуйка для бани

Буржуйка для бани

0 голосов
0
0


Погрузитесь в мир роскоши и комфорта с буржуйкой для бани. Этот изысканный элемент дизайна создаст в вашей бане атмосферу утонченности и роскоши.

Буржуйка для бани представляет собой элегантный предмет интерьера, которым можно украсить любую сауну или баню. Изготавливается она из высококачественных материалов, таких как дерево и натуральные ткани. Каждая деталь буржуйки продумана до мелочей, чтобы обеспечить максимальный комфорт и удовольствие.

Основным функциональным элементом буржуйки является спинка, которая обеспечивает оптимальную поддержку для спины и шеи. Благодаря этому, вы сможете расслабиться, полностью отключиться от повседневной суеты и насладиться приятными ощущениями тепла и покоя.

Кроме того, буржуйка может быть дополнена различными аксессуарами, такими как мягкие подушки, покрывала или шерстяные пледы. Эти дополнительные элементы позволят вам создать уютную и расслабляющую атмосферу, где вы сможете провести время в удовольствие.

Буржуйка для бани также может служить прекрасным элементом декора. Выбирайте разные цветовые решения и фактуры материалов, чтобы она гармонично вписалась в общий стиль вашей бани или сауны. Такой акцентный предмет интерьера придаст помещению индивидуальность и особый шарм.

Важно упомянуть, что буржуйка для бани является не только красивой, но и практичной инвестицией. Она не только добавит комфорт и уют в вашу баню, но и способствует вашему здоровью и благополучию. Расслабление на буржуйке помогает избавиться от стресса, усталости и напряжения, а также улучшает кровообращение и общее самочувствие.

Так что если вы хотите создать пространство, где вы сможете наслаждаться моментами отдыха и релаксации, то буржуйка для бани - это именно то, что вам нужно. Погрузитесь в ощущение роскоши и позвольте себе насладиться непревзойденным комфортом, который может предложить только буржуйка для бани.


Печь буржуйка поддувало
2
Печь буржуйка поддувало

Печь буржуйка Геликон
3
Печь буржуйка Геликон

Печь для бани из 530 трубы горизонтальная чертеж
4
Печь для бани из 530 трубы горизонтальная чертеж

Печь буржуйка Экономка
5
Печь буржуйка Экономка

Печь буржуйка с баком 100л
6
Печь буржуйка с баком 100л

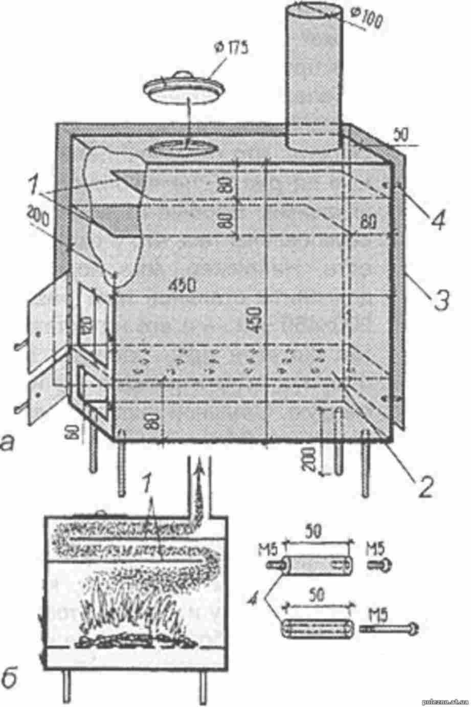
Банная печь дллительного горения чертёж
7
Банная печь дллительного горения чертёж

Печь буржуйка 300*500*380мм 3мм
8
Печь буржуйка 300*500*380мм 3мм

Печка буржуйка для бани
9
Печка буржуйка для бани

Пеки
10
Пеки

Буржуйка для бани
11
Буржуйка для бани

Чертеж печки буржуйки
12
Чертеж печки буржуйки

Печь с трубы 530 с теплообменником
13
Печь с трубы 530 с теплообменником

Печка ГАЗ баллонов бойлер
14
Печка ГАЗ баллонов бойлер

15

Печь буржуйка с баком 100л
16
Печь буржуйка с баком 100л

Печь буржуйка длительного горения
17
Печь буржуйка длительного горения

Печь+буржуйка+труба+ПБМ 50
18
Печь+буржуйка+труба+ПБМ 50

19

20

Железная печь в гараж
21
Железная печь в гараж

Буржуйка с 426 трубы
22
Буржуйка с 426 трубы

Печь Слобожанка длительного горения
23
Печь Слобожанка длительного горения

Металлическая печь для гаража
24
Металлическая печь для гаража

Печка из колесных дисков ГАЗ 3307 для бани
25
Печка из колесных дисков ГАЗ 3307 для бани

Печь Радуга по-1 (буржуйка)
26
Печь Радуга по-1 (буржуйка)

Печь для гаража на дровах
27
Печь для гаража на дровах

Буржуйка длительного горения Kozak
28
Буржуйка длительного горения Kozak

Банная печь из дисков т150
29
Банная печь из дисков т150

Печь чугунная ХЗК Титан
30
Печь чугунная ХЗК Титан

Печь для бани из баллона пропана 100л
31
Печь для бани из баллона пропана 100л

Печь буржуйка из 200 литровой бочки
32
Печь буржуйка из 200 литровой бочки

Сварная печь для бани
33
Сварная печь для бани

Печь буржуйка Экономка
34
Печь буржуйка Экономка

Котел буржуйка длительного горения
35
Котел буржуйка длительного горения

Металлическая печь для гаража
36
Металлическая печь для гаража

Печь длительного горения обложенная кирпичом
37
Печь длительного горения обложенная кирпичом

Буржуйка из 420 трубы
38
Буржуйка из 420 трубы

Печь-буржуйка длительного горения из трубы 530
39
Печь-буржуйка длительного горения из трубы 530

40

Печь буржуйка с теплообменником в гараж
41
Печь буржуйка с теплообменником в гараж

Печь буржуйка в гараж с высоким КПД
42
Печь буржуйка в гараж с высоким КПД

Печь камин dacha
43
Печь камин dacha

Печь для бани из 530 трубы колосник
44
Печь для бани из 530 трубы колосник

Малогабаритная кирпичная печь буржуйка
45
Малогабаритная кирпичная печь буржуйка

Печь бубафоня
46
Печь бубафоня

Колосник для буржуйки
47
Колосник для буржуйки

Малогабаритная металлическая печь
48
Малогабаритная металлическая печь

Печь для бани из буржуйки
49
Печь для бани из буржуйки

Печь буржуйка Helicon
50
Печь буржуйка Helicon

Сварка печки из металла 2мм
51
Сварка печки из металла 2мм

Буржуйка из 420 трубы
52
Буржуйка из 420 трубы

Печь буржуйка Экономка
53
Печь буржуйка Экономка

Дровяная печь TMF огонь-батарея 9 антрацит
54
Дровяная печь TMF огонь-батарея 9 антрацит

Зольник для банной печи из 430 трубы
55
Зольник для банной печи из 430 трубы

56

ГАЗ баллон печь баня
57
ГАЗ баллон печь баня

Печь буржуйка с баком 100л
58
Печь буржуйка с баком 100л

Печь для бани из 530 трубы колосник
59
Печь для бани из 530 трубы колосник

Печь буржуйка с баком 100л
60
Печь буржуйка с баком 100л

Дожиг газов в печи длительного горения
61
Дожиг газов в печи длительного горения

Казан мангал Сибиряк
62
Казан мангал Сибиряк

Круглая буржуйка в бане
63
Круглая буржуйка в бане

Чертеж дровяной печи длительного горения
64
Чертеж дровяной печи длительного горения

Отопительная печь Радуга по-5
65
Отопительная печь Радуга по-5

Мини печь дровяная буржуйка
66
Мини печь дровяная буржуйка

Печь отопительная жара Бухара 400п
67
Печь отопительная жара Бухара 400п

Буржуйка из нержавейки
68
Буржуйка из нержавейки

Буржуйка из 420 трубы
69
Буржуйка из 420 трубы

Печь буржуйка 426 с дожигом
70
Печь буржуйка 426 с дожигом

Печь буржуйка обложенная кирпичом
71
Печь буржуйка обложенная кирпичом

Банная печь дллительного горения чертёж
72
Банная печь дллительного горения чертёж

Отопительная печь нормаль-2 турбо
73
Отопительная печь нормаль-2 турбо

Буржуйка из ресивера ЗИЛ 130
74
Буржуйка из ресивера ЗИЛ 130
Комментарии (0)
Кликните на изображение чтобы обновить код, если он неразборчив